Судовые нагнетатели по числу и общей мощности являются основной группой потребителей электроэнергии. Укрупненно их можно разделить на две большие группы: судовые вспомогательные механизмы, которые обслуживают главную силовую установку, и механизмы судовых систем.
Судовые насосы различают: по принципу действия — центробежные, осевые, поршневые, ротационные, электромагнитные; по назначению — охлаждающие, циркуляционные, питательные, балластные, пожарные, креновые, санитарные, грузовые и т. д.; по роду обрабатываемой среды — водяные (забортной, пресной, горячей, холодной, питьевой, мытьевой воды), топливные, масляные; по величине давления; по производительности; по способу установки — вертикальные, горизонтальные, стационарные и переносные.
Вентиляторы различают: по принципу действия — центробежные, пропеллерные; по назначению — машинные, котельные, жилых помещений, трюмные; по напору — низкого (до 100 Па), среднего давления (100—300 Па) и высоконапорные (300—1500 Па); по характеру установки — стационарные, переносные, настольные.
Компрессоры различают: по принципу действия — поршневые, центробежные; по роду обрабатываемой среды — воздушные, аммиачные, фреоновые, газовые; по давлению — низкого, среднего и высокого давления; по назначению — главные (пускового воздуха), вспомогательные, аварийные, рефрижераторные, специальные; по производительности; по числу ступеней сжатия — одноступенчатые w многоступенчатые.
Требования к электроприводу судовых нагнетателей могут быть разделены на две группы: первая из них определяется системой или установкой, которую они обслуживают; вторая связана с обеспечением пожаробезопасности, поскольку они перемещают горючие среды или среды, поддерживающие горение, либо обеспечивающие пожаротушение.
Назначение и вытекающие из него требование весьма разнообразны и могут быть сведены к следующим:
- обеспечение достаточной производительности и давления; равномерность подачи: возможность регулирования производительности и напора; экономичность работы и регулирования производительности; надежность работы и резервирование.
- Вторая группа требований, определяемая безопасностью мореплавания и надежностью электроснабжения; питание пожарных осушительных насосов, а также компрессоров и насосов спринклерной системы должно осуществляться от ГРЩ;
- электроприводы топливных, маслоперекачивающих насосов и сепараторов должны иметь дистанционное отключение, а отключаться вне шахт и помещений, где они установлены;
- электродвигатели аварийных осушительных насосов должны иметь возможность пуска с поста, расположенного выше палубы переборок;
- электродвигатели насосов, откачивающие жидкости за борг з местах спуска аварийно-спасательных средств, должны иметь у постов спуска этих средств выключатели;
- электродвигатели вентиляторов машинных отделение должны иметь два выключателя, один из которых должен быть вне машинных отделений и шахт в легко доступном с главной палубы месте;
- вентиляторы грузовых трюмов и камбузов должны иметь отключающие устройства в доступных с главной палубы местах вне шахт МКО, все электродвигатели других вентиляторов должны отключаться из двух мест, удаленных друг от друга;
- электродвигатели общесудовой вентиляции должны иметь одно отключающее устройство на ПУ судном, второе — в вахтенном помещении или другом, доступном с главкой палубы месте, удаленном от ПУ.
Режимы работы и характеристики судовых нагнетателей определяются их назначением и принципом действия. Подавляющее большинство этих приводов являются нерегулируемыми и рассчитаны на продолжительный режим работы (вентиляторы, циркуляционные и охлаждающие насосы, сепараторы и т. д.), некоторые работают эпизодически и кратковременно (топливоподкачивающие, трюмно-осушительные), другие — в повторно- кратковременном режиме (санитарные насосы, компрессоры рефрижераторов и др.). Мощность на валу центробежного нагнетателя определится производительностью и давлением:
где Q — производительность (объемный расход), м3/с; H — давление (напор), Па; η — к. п. д. нагнетателя.
Рис. 1. Характеристики нагнетателей и системы
Соотношение этих величин определяется H — Q характеристикой нагнетателя H = f(Q). Рабочая точка определяется пересечением H — Q характеристики нагнетателя с H — Q характеристикой системы, на которую он работает. На рис. 1, а зависимость H = f(Q) нагнетателя дана для различной частоты вращения (кривые 1, 2, 3). Жесткость характеристики зависит от профиля лопаток: для радиальных лопаток (кривая 4) она жестче, чем для лопаток отогнутых назад, в сторону, противоположную направлению вращения (кривые 1, 2, 3). Уравнение характеристики системы может быть представлено в виде параболы: H = Hст + kсQ2, где Hст = Hг + Hпр — напор статический, обусловленный геометрическим напором Hг (разность уровней в емкостях нагнетания и всасывания) и напором противодавления Hпр (давление в емкости, куда нагнетается жидкость или газ); kс — коэффициент местных потерь, учитывающий гидравлические потери в трубах, клапанах, фильтрах и т. д.
Кривые 5 и 7 свойственны системам, где Hст = 0, причем кривая 7 соответствует системе с большим сопротивление kс, кривые 6 и 8 относятся к системам со статическим напором, кривая 3 характеризует систему с большим kс.
При известной мощности момент на валу двигателя:
Для центробежных нагнетателей, работающих на систему без значительного статического напора, в оценке нагрузи двигателя при регулировании частотой вращения могут быть приняты следующие соотношения:
Для систем с противодавлением необходимые режимы могут быть рассчитаны только путем совместного анализа характеристик системы и нагнетателя. Зависимость мощности от куба, a момента от квадрата частоты вращения, создает легкие условия пуска двигателя. Характеристику M = f(n2) называют вентиляторной и считают благоприятной для пуска, так как нагрузка при пуске очень мала. В то же время даже незначительное повышение частоты вращения сверх номинальной может привести к значительной перегрузке двигателя. При увеличении n, например, на 10% мощность возрастает на 33%.
Производительность центробежных нагнетателей сложно регулировать заслонкой вплоть до полного перекрытия системы. Напор хотя и возрастает, но остается в допустимых пределах. Этим свойством центробежных нагнетателей широко пользуются для регулирования производительности. Однако этот способ неэкономичен. На рис.1 рабочая точка А соответствует полностью открытому клапану на системе с характеристикой 5.
Для уменьшения расхода вдвое заслонка перекрывается так, чтобы характеристика прошла через точку Б. При этом напор возрастает, а мощность на валу если и уменьшается, то незначительно.
Снизив частоту вращения настолько, чтобы не перекрывая клапана на системе 5, уменьшить производительность вдвое (точка Д), мощность нагнетателя будет определяться напором Hд = H/2 и производительностью Q = Qн/2, т. е. уменьшится против номинальной почти в четыре раза.
На характеристике А регулирование заслонкой более экономично, чем на характеристике 1. В точке Г напор возрастает незначительно, а производительность упадет вдвое по сравнению с номинальной (точка В). Однако и в этом случае регулирование частотой вращения оказывается более экономичным, чем заслонкой. Поэтому для таких крупных механизмов, как грузовые и циркуляционные насосы, котельные вентиляторы, применяют регулируемые приводы.
В электроприводах поршневых насосов мощность на валу определяется той же зависимостью (первая формула). Однако производительность здесь прямо определяется числом ходов поршня в единицу времени, т. е. частотой вращения двигателя: Qт = kn, где k — конструктивный коэффициент, учитывающий площадь и ход поршня, передаточное число, число цилиндров и т. д.
Действительная производительность будет меньше теоретической на величину объемных потерь на просачивание жидкости между стенками цилиндра и поршнем, в отсекающих клапанаx и т. д.
Поршневые насосы имеют характеристику H—Q, дающую крутой рост напора при уменьшении расхода клапаном на нагнетательной стороне (рис. 1, б), что может привести к повреждениям в системе. Уменьшение происходит здесь лишь за счет увеличения объемных потерь в насосе, если не считать снижения частоты вращения. Момент на валу насоса растет пропорционально напору, поэтому двигатель перегрузится или остановится под током, сработает отключающая защита.
Регулирование производительности поршневых насосов допустимо только частотой вращения, но не клапаном. В системах, где необходимо изменять расход, устанавливают регулируемый электропривод. Поршневые насосы характеризуются некоторой неравномерностью нагрузки по моменту, току и мощности. В отличие от центробежных механизмов они создают полную нагрузку по моменту во время пуска, что учитывают при выборе способа пуска.
Электроприводы поршневых компрессоров также характеризуются полным моментом при пуске и неравномерностью нагрузки, усугубляемой еще увеличением реакции на поршень по мере сжатия газа в цилиндре. Для выравнивания нагрузки двигателя на его вал устанавливают маховик или массивный шкив, что еще более утяжеляет разгон двигателя при пуске. Поэтому электроприводы компрессоров комплектуют электродвигателями с повышенным пусковым моментом. Мощность электродвигателя определяют по формуле:
где 1,1 - 1,15 — коэффициент запаса; Q — производительность на всасывающей стороне, м3/с; ηк — к. п. д. компрессора.
Удельная работа сжатия при изотермическом цикле, Па (p1 и р2 — давления всасывания и сжатия соответственно).
Производительность судовых компрессоров обычно не регулируют. Изменение расхода сжатого газа вызывает лишь изменение относительной продолжительности включения двигателя. Это достигается автоматически схемой, включающей электропривод при снижении давления газа в приемном ресивере: чем больше расход газа, тем чаще и на большее время включается компрессор. Так работают компрессоры пускового воздуха, холодильных и климатических установок.
Управление электроприводами судовых нагнетателей выполняется по схемам, которые можно разделить по двум признакам: роду тока и регулируемости. На постоянном токе для пуска нерегулируемых приводов применяют пусковые реостаты и контакторные станции, а для регулируемых приводов — пускорегулировочные реостаты или контакторный пуск при ручном управлении возбуждением двигателя. Лишь для крупных насосов (грузовых) применяют отдельные источники регулируемого напряжения.
На переменном токе обычной является схема прямого пуска асинхронного КЗ-электродвигателя с помощью магнитного пускателя. Если мощность привода соизмерима с мощностью генератора, применяют схемы непрямого пуска: через резисторы, дроссели, автотрансформаторы или переключением со звезды на треугольник. Для регулируемых приводов переменного тока применяются двух-и трехскоростные электродвигатели.
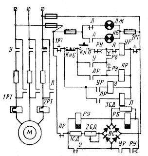
В схеме пуска центробежного насоса через резисторы в цепи статора (рис. 1) поступление питания указывает лампа ЛЖ; сработает реле РУ. Нажатием кнопки «Пуск» включается реле УР, а его контактами — контактор У. Двигатель включится в сеть через резисторы.
Блок-контакты контактора У отключат реле РУ, которое начнет отсчет времени. Одновременно блок-контакты У подготовят цепь реле ЛР.
Рис. 2. Схема пуска электропривода пожарного насоса
После отпускания якоря реле РУ замкнет свои контакты и цепи ЛР, которое включит линейный контактор Л, шунтирующий пусковые резисторы, УР отключается блок-контактами Л, цепь резисторов разрывается. Пуск окончен, о чем сигнализирует лампа ЛБ. Реле РБ служит для отключения пусковой части схемы (УР и У) по окончании пуска.
Защита привода: минимально-нулевая — контактором Л; токовая — тепловыми реле 1РТ; 2РТ; от КЗ в цепях управления — предохранителями. После нажатия кнопки необходимо убедиться в том, что пуск окончен — по лампе ЛБ. Если не произойдет включения ЛБ, то это будет свидетельствовать о невключении Л, пусковые резисторы остались под током. Нужно отключить насос кнопкой «Стоп» и выяснить причину отказа пусковой схемы. В противном случае резисторы сгорят, они рассчитаны на работу лишь во время пуска.
Основные положения по эксплуатации электроприводов судовых нагнетателей сводятся к поддержанию в рабочем состоянии контактной аппаратуры, подшипников электродвигателей и сигнализации цепей управления. Поскольку большинство приводов на ходу судна работает постоянно, необходим ежедневный контроль за состоянием электромашин и аппаратуры, наличием и исправностью сигнальных ламп и средств контроля.
При осмотрах необходимо обращать особое внимание на повышение температуры подшипников, появление в них вибрации или шума. Периодический контроль состояния изоляции выполняется приборами ГРЩ, а неработающих механизмов — переносными мегомметрами. Важным условием для поддержания работоспособности всех механизмов является соблюдение заводских инструкций и графиков профилактических осмотров и ремонта.







Комментариев нет:
Отправить комментарий