Рис. 1. Схема электрических соединений блока датчиков однооборотного электрического механизма. А — блок усилителя БУ-2, Б — блок магнитного датчика, В — электрический исполнительный механизм
Монтаж блока датчиков однооборотных электрических исполнительных механизмов производится по схеме электрических соединений, показанной на рис. 1, проводом сечением не менее 0,75 мм2. Перед установкой датчика необходимо проверить его работоспособность по схеме, изображенной на рис. 2.
Монтаж пневматических исполнительных механизмов осуществляют медными трубками 0 8 мм и толщиной стенок 1 мм.
Гидравлические исполнительные механизмы следует монтировать на горизонтальной плоскости. Питание их водой осуществляют через редукционные клапаны (один на каждые 3—4 сервомотора). Вода к клапану подводится трубами 3/4" от источника давлением 0,25—0,4 МПа (2,5—4 кг/см2). На линии за редукционным клапаном устанавливают манометр для контроля давления воды. С целью поддержания давления в заданных пределах можно использовать редукционный клапан или напорный блок, расположенный на высоте 10—15 м от уровня установки исполнительного механизма.
Рис. 2. Схема проверки магнитного датчика: А — блок усилителя БУ-2, Б — блок магнитного датчика БДМ-2; П1, П2 —колодки; R1, R2 — резисторы 240 Ом, R3 — резистор 2 кОм, ИП — милливольтамперметр
Регулирующий орган сочленяется с гидравлическим исполнительным механизмом при помощи штанги. Необходимо предусмотреть использование полного хода поршня сервомотора исполнительного механизма при полном ходе регулирующего органа, который должен быть уравновешен и легко перемещаться.
Техническое обслуживание электрических исполнительных механизмов заключается в систематическом внешнем и профилактическом осмотре, ревизии и ремонте.
Профилактические осмотр и ремонт осуществляются ежегодно. Раз в два года проводят средний ремонт механизма в мастерской, заменяя вышедшие из строя детали и удаляя старую смазку в редукторе. После разборки механизма все детали промывают, высушивают и наносят на них тонкий слой смазки, трущиеся поверхности подвижных частей обильно смазывают ЦИАТИМ-201.
Блок датчиков электрических исполнительных механизмов подвергают профилактическому осмотру через каждые шесть месяцев работы. Во время осмотра смазывают трущиеся части, производят подрегулировку. Через два года проверяют износ рабочей поверхности профильного кулачка, кулачков микровыключателей и функционирование самих микровыключателей, а также рабочее состояние магнитного датчика (износ деталей, их затирание).
В табл. 1 приведены характерные неисправности электрических исполнительных механизмов, их возможные причины и способы устранения, а в табл. 2 — магнитного блока датчиков.
Таблица 1. Характерные неисправности электрических исполнительных механизмов и способы их устранения
Таблица 2. Характерные неисправности магнитного блока датчиков электрических исполнительных механизмов и способы их устранения
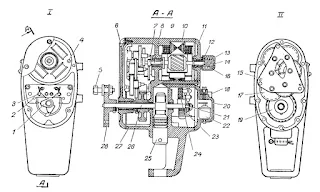
В процессе технического обслуживания электрического исполнительного механизма типа ПР необходимо через имеющиеся в корпусе шариковые масленки еженедельно производить смазку веретенным маслом марки 2 (по 3 — 4 капли). Для смазки редуктора надо снять диск 28 (рис. 3), крышку 6 и, не снимая платика 15, удалить отработанную смазку, затем нанести свежую.
Рис. 3. Конструкция прямоходного электрического исполнительного механизма типа ПР: I, II — вид со снятой крышкой, 1 — скользящий контакт, 2 — винт, 3 — контакт, 4 — специальный винт, 5 — палец, 6 — передняя крышка, 7 — трибка, 8 — подшипник, 9 — ротор, 10 — статор, 11 — задняя крышка, 12 — подпятник, 13 — пружина, 14 — колпачок, 15 — платик, 16 — шарик, 17 — зубчатое колесо, 18 — втулка, 19 — шестерня главного валика, 20 — крышка выключателя, 21 — гайка, 22 — конденсатор, 23 — реостат, 24 — панель, 25 — шток, 26 — главный валик, 27 — корпус, 28 — диск
При техническом обслуживании пневматических исполнительных механизмов раз в неделю производят их наружный осмотр, проверяя герметичность рабочей полости и импульсных трубок, отсутствие заеданий подвижной части, наличие смазки в подшипниках и на трущихся поверхностях. Механизм смазывают ЦИАТИМ-201 ежемесячно. Раз в полгода проводится планово-предупредительный ремонт.
Техническое обслуживание гидравлических исполнительных механизмов состоит в их периодическом наружном и внутреннем осмотре, в выполнении профилактических мероприятий и устранении неисправностей.
Еженедельно следует обдувать внутреннюю полость блока управления и обратной связи чистым, не содержащим масла, воздухом под давлением не более 0,01 МПа (0,1 кг/см2), а также проверять работу редукционного клапана и осматривать линии подвода воды. Каждый месяц необходимо поджимать контакты электрических соединений, проверять места пайки для предупреждения обрывов, а также промывать редукционный клапан.
Воздух к электромагнитным клапанам рекомендуется подводить медной или латунной трубкой диаметром 6 мм и толщиной стенок 1 мм. Ее припаивают и крепят к клапану накидной гайкой. После монтажа воздушную линию испытывают на герметичность давлением воздуха 0,3 МПа (3 кг/см2). Раз в неделю проверяют работоспособность клапана, переключая его несколько раз подряд из одного положения в другое. Ежегодно следует проводить ревизию клапана, обращая внимание на чистоту поверхности якоря и внутренней полости электромагнита. При этом проверяют отверстия сопел, прочищают их и промывают спиртом. Внутреннюю поверхность электромагнита и якорь также промывают спиртом, затем смазывают тонким слоем костного масла.
Характерные неисправности распределительного вентиля, их возможные причины и способы устранения приведены в табл. 3, а электромагнитного клапана — в табл. 4.
Таблица 3. Характерные неисправности распределительного вентиля с пневматическим приводом и способы их устранения
Если при включении тока электромагнитный клапан не срабатывает, то возможен обрыв в цепи электромагнита или заедание якоря. В таком случае необходимо прозвонить электрическую цепь и устранить обрыв. Также стоит разобрать клапан, прочистить трущиеся части и смазать тонким слоем. Залипание якоря вследствие неправильной регулировки клапана должно быть исправлено регулированием хода якоря.






Комментариев нет:
Отправить комментарий